More From Contributor

€132.34
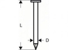
Passend zu GCN 45-15 Professional Geeignet für Dachkonstruktionen, Holzbau, Tür- und Fensterrahmen, Möbelrahmen, Palettenbau, Kistenbau Ausführung: feuerverzinkt Alle Nägel sind zusätzlich geharzt (für besseres Eindringen und höhere Haltekraft) Alle Nägel werden in Europa hergestellt und bürgen daher für eine hohe, konstante Qualität Länge Schaftdurchmesser (D) mm Kopfdurchmesser Länge (L) mm Paketinhalt 19mm 3mm 9, 5mm 19mm 5000 Stück 28mm 3mm 9, 5mm 28mm 4000 Stück 22mm 3mm 9, 5mm 22mm 5000 Stück 25mm 3mm 9, 5mm 25mm 5000 Stück 32mm 3mm 9, 5mm 32mm 4000 Stück 35mm 3mm 9, 5mm 35mm 4000 Stück 38mm 3mm 9, 5mm 38mm 3000 Stück 45mm 3mm 9, 5mm 45mm 3000 Stück ...
Archived Product
€699 EUR
Dachpappnagler 4X-CNZ45 Prebena Dachpappnagler 4X-CNZ45• Schnell-Ladesystem• Einzel- und Kontaktauslösung• Gummierter Geräteschutzbügel• Optimale Tiefenregulierung durch Tiefeneinstellung• Verstellbarer Abstandhalter• Spezialwerkzeug für gerades Eintreiben der Nägel• Auslösesicherung•Rückschlagfrei• Geräuschdämpfer• Verstellbare Abluft•Für Dachpappe, Dämmmaterial, Verpackungen, Dachhaften etc. Lieferung: Im Metall-Transportkoffer.- Gewicht: 2, 2kg ...
Available
€135 EUR
Dachpappnägel zn 7200 Stk CNZ31/22NKRI Prebena Dachpappnagel Typ CNZ• Galvanisch verzinkt• Neigung 16°• Drahtmagazinierung- Kopfform: Breitkopf ...
Available
€135 EUR
Dachpappnägel zn 7200 Stk CNZ31/25NKRI Prebena Dachpappnagel Typ CNZ• Galvanisch verzinkt• Neigung 16°• Drahtmagazinierung ...
Available
€4.89 EUR
Dachpappstift Der große flache Kopf verhindert das Durchziehen des Nagels. Der große flache Kopf verhindert das Durchziehen des Nagels.
-
...
Available
€4.89 EUR
Dachpappstift Der große flache Kopf verhindert das Durchziehen des Nagels. Der große flache Kopf verhindert das Durchziehen des Nagels.
-
...
Available
€125 EUR
Dachpappstift Kupfer 2, 5x 25 E-NORMpro Dachpappstift/ Schieferstift DIN 1160, Kupfer, Pakete à 2, 5 kg-

Material:


...
Available
€125 EUR
Dachpappstift Kupfer 2, 8x 25 E-NORMpro Dachpappstift/ Schieferstift DIN 1160, Kupfer, Pakete à 2, 5 kg-

Material:


...
Available
€22.99 EUR
Dachpappstift tzn 2, 8x 50 Dachpappstift/ Schieferstift DIN 1160, feuerverzinkt, Pakete à 2, 5 kg-

Material:


...
Available
€8.79
Dachpappstifte (SB), verzinkt in E-NORM Verpackung Durchmesser Länge: Paketinhalt 2, 0 mm 20 mm: 140g 2, 8 mm 25 mm: 170g ...
Archived Product

Dachpappstift

DachpappstiftDer große flache Kopf verhindert das Durchziehen des Nagels. Der große flache Kopf verhindert das Durchziehen des Nagels. - Gewicht: 0, 237 kg, - Material: Stahl, Oberfläche: Thermisch verzinkt (Feuerverzinkt), - Produktart: Nagel200 Stück
  • Click to be directed to retailers website:

    Buy

    Many items on our site can also be found here:

    Buy
    • External links may include paid for promotion
    Availability: In Stock
    €4.89 EUR

    Product Description

    Dachpappstift Der große flache Kopf verhindert das Durchziehen des Nagels. Der große flache Kopf verhindert das Durchziehen des Nagels.
    - Gewicht: 0, 237 kg,
    -

    Material:
    Stahl, Oberfläche: Thermisch verzinkt (Feuerverzinkt),
    - Produktart: Nagel 200 Stück

    Reviews/Comments

    Add New

    Intelligent Comparison

    Oooops!
    We couldn't find anything!
    Perhaps this product's unique.... Or perhaps we are still looking for comparisons!
    Click to bump this page and we'll hurry up.

    Price History

    Vouchers

    No voucher codes found.
    Do you know a voucher code for this product or supplier? Add it to Insights for others to use.

    Facebook

    Jargon Buster

    Supplier Information

    Leitermann de
    Page Updated: 2026-01-26 13:39:27

    Community Generated Product Tags

    Oh No! The productWIKI community hasn't generated any tags for this product yet!
    Menu